Autor:Editor del sitio Hora de publicación: 2024-02-21 Origen:Sitio

El efecto de los cubos: la cantidad de agua que puede contener un cubo depende de su duela más corta.
En el ámbito de las baterías, se observa el efecto cubo: el rendimiento de una batería depende de la celda con el voltaje más bajo.Cuando el equilibrio de voltaje es deficiente, se produce el fenómeno de que la batería se carga completamente después de un breve período de carga.
Enfoque tradicional:
Inspección periódica manual para identificar baterías con bajo voltaje y cargar individualmente baterías con bajo voltaje.
Enfoque inteligente:
BMS (Sistema de gestión de batería) está equipado con una función de equilibrio automático que puede equilibrar automáticamente el voltaje durante la carga y descarga.
El equilibrio automático incluye equilibrio activo y pasivo.
El equilibrio activo incluye el equilibrio basado en carga y en transferencia de energía.
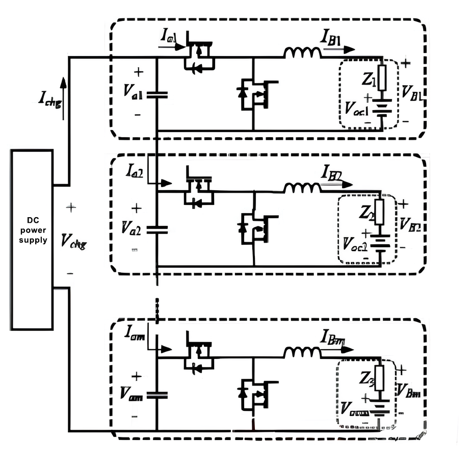
El equilibrio se lleva a cabo mediante transferencia de energía sin pérdidas, es decir, la energía se transfiere de las celdas con mayor voltaje a aquellas con menor voltaje, logrando el equilibrio general de voltaje con una mínima pérdida de energía;por lo tanto, también se le llama equilibrio sin pérdidas.
Ventajas: Pérdida mínima de energía, alta eficiencia, larga duración, alta corriente, efecto rápido.
Desventajas: Circuitos complejos, alto costo.

Hay un módulo de alimentación CC/CC dentro de cada sensor de celda de monitoreo.Durante la carga flotante, el módulo carga la celda con el voltaje más bajo para aumentar su carga hasta alcanzar el equilibrio de voltaje establecido.
Ventajas: Carga dirigida a celdas con carga insuficiente o de menor rendimiento.
Desventajas: Alto costo debido a la necesidad de módulos de alimentación CC/CC, riesgo de sobrecarga (posible por error de cálculo), alto costo de mantenimiento debido a posibles puntos de falla.

El equilibrio pasivo generalmente implica descargar celdas de voltaje más alto a través de resistencias, liberando energía en forma de calor para lograr el equilibrio de voltaje general, permitiendo así que otras celdas tengan más tiempo de carga durante el proceso de carga.
Ventajas: Baja corriente de descarga, tecnología confiable y rentable.
Desventajas: Tiempo de descarga corto, efecto lento.

En resumen, el BMS actual para baterías de plomo-ácido adopta principalmente un equilibrio pasivo.En el futuro, Dfun introducirá el equilibrio híbrido, que equilibra las células de alto voltaje mediante descarga y las células de bajo voltaje mediante carga.
Resistencia interna versus impedancia: diferencias clave para el estado de la batería
Sistemas de monitoreo de baterías para la industria del petróleo y el gas
Cómo elegir el sistema de monitoreo de batería adecuado para centros de datos (2026)
Incendio de batería en un centro de datos: cómo prevenirlo con un sistema de monitoreo de batería
La guía definitiva para las baterías LiFePO4: todo lo que necesita saber
Sistema de monitoreo de batería con cable versus inalámbrico, ¿cuál es mejor?